Малошумная, приемная апериодическая антенна (3-30мгц)
Простой вариант для радиолюбителя живущего в городе
Простой вариант для радиолюбителя живущего в городе
После установки GP на диапазоны 80 и 40м, встал вопрос с приемом!
Вертикал отлично работал на передачу. Всех кого удавалось услышать, как правило, всегда отвечали. Однако
принимать на такой Вертикал, особенно на 80-ке, в городской черте города, крайне сложно, некомфортно, а порой и вовсе невозможно!
Трески, рокот, да и просто сильный шум эфира, сводит на нет, прекрасные свойства антенны на передачу!
Что толку, если тебе отвечают, а ты разобрать не можешь. В моем QTH, конкретно, шум по началу доходил до 59+10dB. Частично, шумливую электромагнитную обстановку удалось подавить, путем установки дополнительных сетевых фильров в различные бытовые приборы у себя в доме, начиная с собственного компьютера на столе... (Hi)
Так или иначе, удалось сильно "почистить" эфир до 57 баллов по С-метру трансивера, но оставался еще внешний шум, природа которого была не известной. Таким образом, шумовая обстановка в течении суток изменялась от 57 до 55 баллов по С-метру, но никогда ниже не опускалась. Одним словом, город!
Вывод напрашивался сам собой. Нужна отдельная приемная антенна. Мой участок, позмолял мне только с одной стороны натянуть Луч длинной порядка 27-30м. Из всех вариантов приемных антенн, учитывая малую площадь и соседство рядом расположенных резонансных антенн, выбор пал на обычную антенну АБВ (Антенна Бегущей Волны).
Конечно, это не есть полноценный АБВ - Бевереджа, такой, какой бы хотелось иметь, длиной 150-300м и я прекрасно понимал, что усиления подобная антенна иметь не может в заданном направлении, потому как просто сильно короткая. Тут задача стояла иная, это сделать приемную антенну, которая просто меньше бы собирала на себе шумов, чем Вертикал.
Почему выбор пал именно на такой простой вариант, а скажем, не на классическую Магнитную рамку (Magnetic Loop), столь популярную в народе. Да, с "волшебным колесом" так же можно иметь меньше шумов,она имеет ориентацию (можно вращать) по направлению, она меньше размерами и т.д. Однако эта антенна из разряда резонансных и имеет довольно высокую добротность, а следствием этого , очень узкую полосу. Бегать и перестраивать её, крайне не удобно! Делать электромеханический дистанционный привод, довольно сложно и затратно. Кроме того, одно дело принимать сигналы из Европы и ближайшей округи, а другое дело, станций удаленных на многие тысячи километров. Малый размер рамки тут не пригоден ибо ЭДС наведенного сигнала в такой рамке будет крайне мала. Что бы сделать приемлемый вариант для приема DX станций, нужен размер рамки порядка 3-4м, для диапазона 80м, а это уже далеко не настольный вариант... Одним словом, сложно и муторно и с непонятным эффектом в конце.
Существует отдельный класс приемных антенн, таких как K9AY, различные "Флаги" "Вымпелы" и т.д., которые имеют весьма хорошие харатеристки, но для установки которых нужно обязательно соблюсти разнос по расстонию между резонсной антенной и приемной антенной, в противном случае, толку от такой антенны будет очень мало, а может и вообще не быть. Кроме того, все они обладают отрицательным усилением, порядка -20-30dB и нуждаются во внешнем, хорошем усилителе, да еще и защищенным по входу от излучения собственной передающей антенны. У меня к сожалению нет свободного пространства, что бы отойти на 50м от Вертикала. Если ставить ближе, то нужно в момент приема на такую антенну, передающую рассогласовывать, что бы она не служила источником переизлучения местного шума, на такую рамку. Пришлось и от такого варианта отказаться. Сложно реализовать и нет попросту места!
Я остановился на укороченной антенне АБВ, как на самом простом варианте. Главная цель установки которой, было бы получить RX-антенну с меньшим шумом на входе, чем у имеющегося GP, полагаясь на высокую чувствительность приемного тракта трансивера.
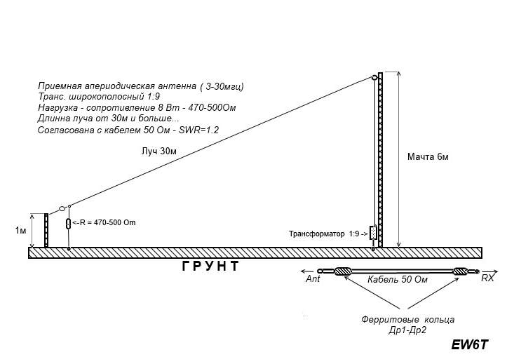
Мной был изготовлен луч, длиной 30м, растянутый вдоль самого длинной стороны моего участка. С одной стороны луча, имеется безиндуктивное сопротивлоение 500 Ом, выполененое из 4-х резисторов по 2Ком мощностью 2 Вт в параллель. Кабель к антенне подключается через согласующий широкополосный трансформатор 1:9, что дало хорошее согласование с кабелем по всему диапазону от 3 до 30мгц. Луч антенны расположен под наклоном, где со стороны нагрузки (500ом), подходит близко к земле, а с противоположной стороны, установил деревянную мачту с роликами для изменения высоты антенны. Мачта нужна для того, что бы менять усиление самой антенны. Близко расположенная к земле антенна практически не принимает никакого шума. Прием идет очень комфортный, чистый, но вследствии очень низкого усиления она дает слышать сигналы станций, только имеющих приличный уровень на передачу. В ходе эксперемента с высотой, я разместил антенну таким образом ( См. рисунок), что бы шумы на входе трансивера, едва едва, отклоняли стрелку С-метра на 1 балл.
Таким образом, при полной чувствительности трансивера (PREAM.GAIN - ON), антенна стала уверенно принимать хорошо станции Европы и более дальние, порядка 2000-3000 км, предоставляя мне очень комфортный прием практически без шумов на входе. Как это выглядит, применительно к Вертикалу? Если GP, так же принимает станцию, скажем с уровнем 579, но прием сильно затруднен ибо в промежутках стоит сильный шум от местных помех, то на приемную антенну, этот же сигнал я буду слышать на уровне 549-559, но практически без шума, без надрыва трасивера по входу и в очень комфортном виде.
Синалы приходящие ниже уровня 559, на GP, не всегда возможно разобрать вообще! Все будет зависеть от уровня местного шума в этот момент времени. Читается обычно 50-60% информации и это еще даже и не плохо, но с большим напряжением. При переходе на приемный вариант ( в данном случае, такой как у меня ) я слышу эту станцию вообще без отклонения стрелки С-метра, но слышу! Разборчивость гораздо выше, чем при приеме на Вертикал, а самое главное, прием не такой напряжный, так как шумы минимальны или их вовсе нет. .
Именно благодаря наличию этой антенны и были успешно сработаны такие станции, как PJ5/SP6EQZ VE9FI 9G2HO P4OW CT9/DL7UGN и ряд других из JA и W..., где переключившись на GP, я не мог разобрать ровным счетом толком ничего!
Плюсы и минусы данного варианта.
Плюсы:
1. Антенна очень проста и не требует никакой настройки. В силу своей широкополосности, не оказывает никакого влияния на расположенные рядом другие, настроенные антенны, в равной степени как и наоборот!
2. Легко регулировать по уровню СИГНАЛ-ШУМ, на входе трансивера, в зависимости от уровня помех в вашем QTH путем обычного подъема от земли одной стороны. Выше расположение, выше усиление, выше шумность помех, так и наоборот, чем ниже, тем тише прием и т.д.
3. На ВЧ диапазонах, начиная с 20-ки, уже чувствуется направленность в сторону нижнего конца.
Минусы:
1. Сильно короткая длинна Луча, где не обеспечивается желаемая чувствительность при проведении связей с очень дальними станциями других континентов. Желательно хотя бы 80-120м иметь для этого...
В заключении данной статьи могу сказать, что наличие приемной антенны в городской черте, при работе на Вертикалы, строгая необходимость! Какой вариант будет вашей приемной антенной, решать вам, учитывая ваши возможности по месту установки и уровень локальных помех в вашем QTH.
Про себя лишь могу сказать, что я ни разу не пожалел, что поставил для себя такой вариант на прием. Эта антенна однозначно выигрывает у ступенчатого аттенюатора на входе RX при работе с GP на прием, так и при попытке прослушивать сигналы на 80-м диапазоне, включив другие диапазонные имеющиеся у меня антенны.
73! de EW6T
Трески, рокот, да и просто сильный шум эфира, сводит на нет, прекрасные свойства антенны на передачу!
Что толку, если тебе отвечают, а ты разобрать не можешь. В моем QTH, конкретно, шум по началу доходил до 59+10dB. Частично, шумливую электромагнитную обстановку удалось подавить, путем установки дополнительных сетевых фильров в различные бытовые приборы у себя в доме, начиная с собственного компьютера на столе... (Hi)
Так или иначе, удалось сильно "почистить" эфир до 57 баллов по С-метру трансивера, но оставался еще внешний шум, природа которого была не известной. Таким образом, шумовая обстановка в течении суток изменялась от 57 до 55 баллов по С-метру, но никогда ниже не опускалась. Одним словом, город!
Вывод напрашивался сам собой. Нужна отдельная приемная антенна. Мой участок, позмолял мне только с одной стороны натянуть Луч длинной порядка 27-30м. Из всех вариантов приемных антенн, учитывая малую площадь и соседство рядом расположенных резонансных антенн, выбор пал на обычную антенну АБВ (Антенна Бегущей Волны).
Конечно, это не есть полноценный АБВ - Бевереджа, такой, какой бы хотелось иметь, длиной 150-300м и я прекрасно понимал, что усиления подобная антенна иметь не может в заданном направлении, потому как просто сильно короткая. Тут задача стояла иная, это сделать приемную антенну, которая просто меньше бы собирала на себе шумов, чем Вертикал.
Почему выбор пал именно на такой простой вариант, а скажем, не на классическую Магнитную рамку (Magnetic Loop), столь популярную в народе. Да, с "волшебным колесом" так же можно иметь меньше шумов,она имеет ориентацию (можно вращать) по направлению, она меньше размерами и т.д. Однако эта антенна из разряда резонансных и имеет довольно высокую добротность, а следствием этого , очень узкую полосу. Бегать и перестраивать её, крайне не удобно! Делать электромеханический дистанционный привод, довольно сложно и затратно. Кроме того, одно дело принимать сигналы из Европы и ближайшей округи, а другое дело, станций удаленных на многие тысячи километров. Малый размер рамки тут не пригоден ибо ЭДС наведенного сигнала в такой рамке будет крайне мала. Что бы сделать приемлемый вариант для приема DX станций, нужен размер рамки порядка 3-4м, для диапазона 80м, а это уже далеко не настольный вариант... Одним словом, сложно и муторно и с непонятным эффектом в конце.
Существует отдельный класс приемных антенн, таких как K9AY, различные "Флаги" "Вымпелы" и т.д., которые имеют весьма хорошие харатеристки, но для установки которых нужно обязательно соблюсти разнос по расстонию между резонсной антенной и приемной антенной, в противном случае, толку от такой антенны будет очень мало, а может и вообще не быть. Кроме того, все они обладают отрицательным усилением, порядка -20-30dB и нуждаются во внешнем, хорошем усилителе, да еще и защищенным по входу от излучения собственной передающей антенны. У меня к сожалению нет свободного пространства, что бы отойти на 50м от Вертикала. Если ставить ближе, то нужно в момент приема на такую антенну, передающую рассогласовывать, что бы она не служила источником переизлучения местного шума, на такую рамку. Пришлось и от такого варианта отказаться. Сложно реализовать и нет попросту места!
Я остановился на укороченной антенне АБВ, как на самом простом варианте. Главная цель установки которой, было бы получить RX-антенну с меньшим шумом на входе, чем у имеющегося GP, полагаясь на высокую чувствительность приемного тракта трансивера.
Мной был изготовлен луч, длиной 30м, растянутый вдоль самого длинной стороны моего участка. С одной стороны луча, имеется безиндуктивное сопротивлоение 500 Ом, выполененое из 4-х резисторов по 2Ком мощностью 2 Вт в параллель. Кабель к антенне подключается через согласующий широкополосный трансформатор 1:9, что дало хорошее согласование с кабелем по всему диапазону от 3 до 30мгц. Луч антенны расположен под наклоном, где со стороны нагрузки (500ом), подходит близко к земле, а с противоположной стороны, установил деревянную мачту с роликами для изменения высоты антенны. Мачта нужна для того, что бы менять усиление самой антенны. Близко расположенная к земле антенна практически не принимает никакого шума. Прием идет очень комфортный, чистый, но вследствии очень низкого усиления она дает слышать сигналы станций, только имеющих приличный уровень на передачу. В ходе эксперемента с высотой, я разместил антенну таким образом ( См. рисунок), что бы шумы на входе трансивера, едва едва, отклоняли стрелку С-метра на 1 балл.
Таким образом, при полной чувствительности трансивера (PREAM.GAIN - ON), антенна стала уверенно принимать хорошо станции Европы и более дальние, порядка 2000-3000 км, предоставляя мне очень комфортный прием практически без шумов на входе. Как это выглядит, применительно к Вертикалу? Если GP, так же принимает станцию, скажем с уровнем 579, но прием сильно затруднен ибо в промежутках стоит сильный шум от местных помех, то на приемную антенну, этот же сигнал я буду слышать на уровне 549-559, но практически без шума, без надрыва трасивера по входу и в очень комфортном виде.
Синалы приходящие ниже уровня 559, на GP, не всегда возможно разобрать вообще! Все будет зависеть от уровня местного шума в этот момент времени. Читается обычно 50-60% информации и это еще даже и не плохо, но с большим напряжением. При переходе на приемный вариант ( в данном случае, такой как у меня ) я слышу эту станцию вообще без отклонения стрелки С-метра, но слышу! Разборчивость гораздо выше, чем при приеме на Вертикал, а самое главное, прием не такой напряжный, так как шумы минимальны или их вовсе нет. .
Именно благодаря наличию этой антенны и были успешно сработаны такие станции, как PJ5/SP6EQZ VE9FI 9G2HO P4OW CT9/DL7UGN и ряд других из JA и W..., где переключившись на GP, я не мог разобрать ровным счетом толком ничего!
Плюсы и минусы данного варианта.
Плюсы:
1. Антенна очень проста и не требует никакой настройки. В силу своей широкополосности, не оказывает никакого влияния на расположенные рядом другие, настроенные антенны, в равной степени как и наоборот!
2. Легко регулировать по уровню СИГНАЛ-ШУМ, на входе трансивера, в зависимости от уровня помех в вашем QTH путем обычного подъема от земли одной стороны. Выше расположение, выше усиление, выше шумность помех, так и наоборот, чем ниже, тем тише прием и т.д.
3. На ВЧ диапазонах, начиная с 20-ки, уже чувствуется направленность в сторону нижнего конца.
Минусы:
1. Сильно короткая длинна Луча, где не обеспечивается желаемая чувствительность при проведении связей с очень дальними станциями других континентов. Желательно хотя бы 80-120м иметь для этого...
В заключении данной статьи могу сказать, что наличие приемной антенны в городской черте, при работе на Вертикалы, строгая необходимость! Какой вариант будет вашей приемной антенной, решать вам, учитывая ваши возможности по месту установки и уровень локальных помех в вашем QTH.
Про себя лишь могу сказать, что я ни разу не пожалел, что поставил для себя такой вариант на прием. Эта антенна однозначно выигрывает у ступенчатого аттенюатора на входе RX при работе с GP на прием, так и при попытке прослушивать сигналы на 80-м диапазоне, включив другие диапазонные имеющиеся у меня антенны.
73! de EW6T
